أخبارنا المغربية
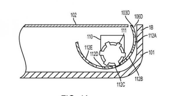
وقال الموقع إن براءة الاختراع بعنوان "الحماية النشطة لشاشات الأجهزة الإلكترونية"، مشيراً إلى أنها تقوم على 4 أدوات متناهية الصغر تتمدد فقط في حال سقوط الهاتف على الأرض.
وأضاف الموقع أن هذه الأدوات الموجودة في زوايا الهاتف تتلقى الصدمة عوضاً عن شاشته بما يمنع تعرضها للتهشم، لافتاً إلى أنها تتمدد من خلال أجهزة الاستشعار الموجودة في الهاتف أو من خلال الكاميرا.

وبحسب براءة الاختراع فإن أبل يمكن أن تطبق "الحماية النشطة لشاشات الأجهزة الإلكترونية" لحماية شاشات هواتف "آي فون" و"آي باد" و"أبل ووتش" و"آي بود"، إضافة أجهزة "ماك بوك".
الجدير ذكره أن شركة أبل عمدت إلى تقوية أغطية هاتفي "آي فون 6 إس" و"آي فون 6 إس بلس" إذ استخدمت ألومنيوم بمعيار 8 آلاف، بيد أن الشاشة ماتزال هشة، وقابلة للتهشم، كغيرها من شاشات الهواتف الذكية.
