أخبارنا المغربية
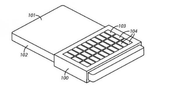
وتنص براءة الاختراع الجديدة على لوحة مفاتيح حقيقية قابلة للتركيب والإزالة تُركب بسهولة داخل الهاتف وقت الحاجة إليها، وتنزلق من فوق شاشة الهاتف عند عدم الحاجة إليها، حسبما ورد في موقع "انغادغيت" التقني الألماني.
وتعتبر لوحة مفاتيح هواتف بلاك بيري أحد أبرز المميزات التي تجعل المستخدمين يتلهفون عليها، خصوصاً رجال الأعمال الذين اعتادوا استخدام المفاتيح الحقيقية عند كتابة رسالة نصية أو بريد إلكتروني.
ولم تفصح الشركة بعد عن موعد البدء في إنتاج البراءة، لكنها بشكل أو بآخر ستكون عملية ومفيدة لهؤلاء الذين يعشقون هواتف بلاك بيري ويرغبون في الوقت ذاته شاشة كبيرة لمسية وتنطوي على لوحة مفاتيح ديناميكية.
