بالصور: ابتكار يحمي المسافرين من حوادث الطائرات
أخبارنا المغربية
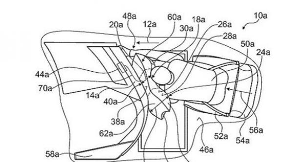
وجاء في تفاصيل براءة الاختراع التي حصلت عليها شركة "ريكارو" أن الوسادة الهوائية ستوضع في المقعد أمام المسافرين بالقرب من جهاز الترفيه.
ولفتت الشركة إلى أن هذه الوسادة الهوائية ستقلل فرص تعرض المسافرين للإصابة بشكل كبير في حال وقوع حادث لا يؤدي طبعاً إلى تحطم الطائرة بشكل كامل أو انفجارها في الجو.

وأضافت الشركة التي تتخذ من مدينة شتوتغارت مقراً لها أن الوسادة الهوائية ستقوم بحماية رأس المسافر وكتفيه، بشكل أساسي.
وعلى الرغم من أهمية هذا الابتكار الذي يعدّ ضرورة لا بدّ منها في عالم السيارات، فقد أشارت "ديلي ميل" إلى أن الوسادة الهوائية مخصصة لركاب الدرجة الأولى ودرجة رجال الأعمال، مما يحرم أغلبية الركاب في الدرجة السياحية من الحماية.
هل ترغب بالتعليق على الموضوع؟
المقالات الأكثر مشاهدة
10369 مشاهدة
3
9637 مشاهدة
4
7986 مشاهدة
5
