أخبارنا المغربية
وتسعى العملاقة الأمريكية من خلال براءة الاختراع الجديدة التي سجلتها لدى مكتب براءات الاختراع الأمريكي، إلى تقليل الحوادث المرورية التي تنتج عن تشتت الانتباه أثناء القيادة للانشغال بالأجهزة الإلكترونية، من خلال تعطيل تلك الأجهزة عند ارتداء الساعة.
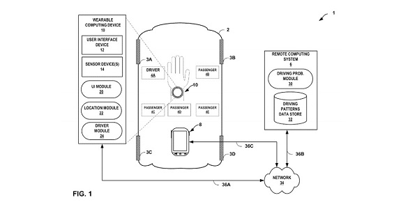
وتعتمد هذه الساعة على مجموعة من أجهزة الاستشعار التي ترصد الحركة، فعندما تبدأ السيارة في التحرك، تستشعر ما إذا كان مرتدي يقود السيارة بنفسه، من خلال حركة اليد المرتبطة بتحريك المقود أو "جير السيارة" أو الفرامل.
وفي حال تأكد الساعة من أن المرتدي يقود السيارة تعيق قدرته على استخدام أجهزته الذكية لإجراء مكالمة هاتفية أو كتابة رسالة نصية أثناء القيادة، عن طريق تعطيلها، بحسب موقع "9 تو 5 ماك" الإلكتروني المعني بالأخبار التقنية.

